液压砖机

新闻分类

联系我们

四川泸州市超强机械有限公司

总部:四川泸州市纳溪区白节镇超强工业园

销售热线:15883001116

业务监督:15883001118

技术咨询:15883001118

邮箱:95326328@qq.com

网址:www.lzcq.com

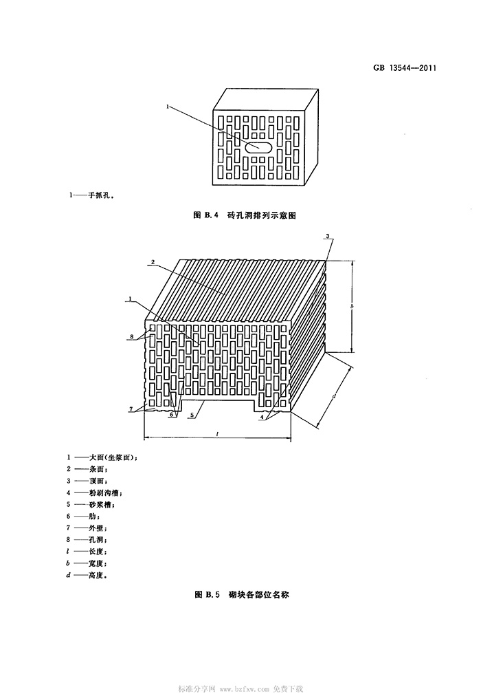
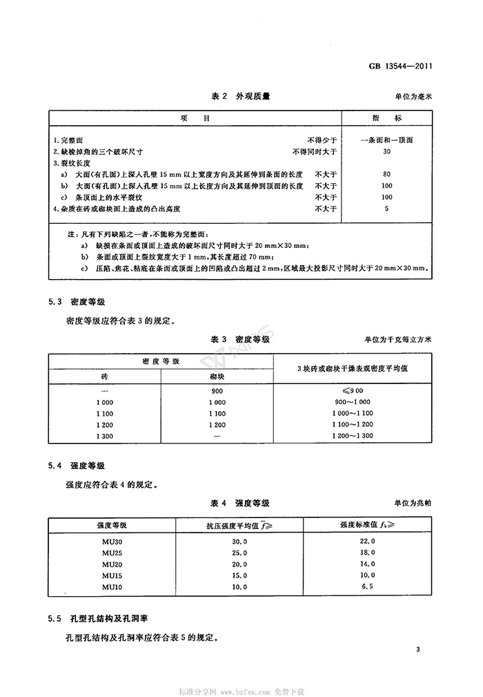
GB 13544-2011 烧结多孔砖和多孔砌块

GB 13544-2011 烧结多孔砖和多孔砌块

发布日期:2017-12-13 作者: 点击:

1513135515150981.jpg

GB-13544-2011-烧结多孔砖和多孔砌块_02.jpg

GB-13544-2011-烧结多孔砖和多孔砌块_03.jpg

GB-13544-2011-烧结多孔砖和多孔砌块_04.jpg

GB-13544-2011-烧结多孔砖和多孔砌块_05.jpg

GB-13544-2011-烧结多孔砖和多孔砌块_06.jpg

GB-13544-2011-烧结多孔砖和多孔砌块_07.jpg

GB-13544-2011-烧结多孔砖和多孔砌块_08.jpg

GB-13544-2011-烧结多孔砖和多孔砌块_09.jpg

GB-13544-2011-烧结多孔砖和多孔砌块_10.jpg

GB-13544-2011-烧结多孔砖和多孔砌块_11.jpg

GB-13544-2011-烧结多孔砖和多孔砌块_12.jpg

GB-13544-2011-烧结多孔砖和多孔砌块_13.jpg

GB-13544-2011-烧结多孔砖和多孔砌块_14.jpg

GB-13544-2011-烧结多孔砖和多孔砌块_15.jpg

本文网址:http://www.lzcq.com/news/355.html

相关标签:烧结多孔压砖机

最近浏览:

在线客服
分享 一键分享